BQ79616 16节串联电池监测器TI

发布时间:2024-09-05 09:33:52     浏览:1930

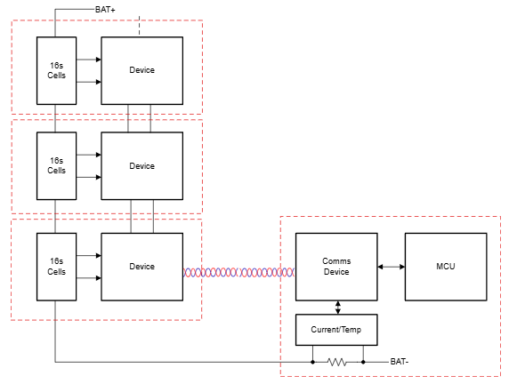
  BQ79616 是TI推出的一款16节串联电池监测器,专为高压电池管理系统设计,适用于混合动力和电动汽车(HEV/EV)的动力总成系统。该器件集成了高精度的电池电压测量、电池均衡和硬件保护功能,能够提供精确的电池状态监控和管理。

  该器件的密封设计支持多种通信选项,便于用户计算电池状态(SOC),并包括温度差分自动调整和恢复能力,以避免潜在的异常条件。

BQ79616 16节串联电池监测器TI

  特性

  1. 高精度:BQ79616 提供 ±1.5 mV 的 ADC 精度,确保电池电压测量的准确性。

  2. 快速测量:能够在 128 ?s 内完成所有电池通道的高精度电压测量。

  3. 先进技术:集成后 ADC 可配置数字低通滤波器和红外通信功能,增强了数据处理的灵活性和通信能力。

  4. 电池均衡:支持内部或外部电池均衡,最大可处理 240mA 的均衡电流,并具备自动停靠和恢复控制功能。

  5. 隔离系统通信:采用环形架构,通过通信中继器实现信息的有效传输。

  6. 主机控制和通讯:支持 UART/SPI 主机接口,可与 TI 的 BQ79600 通信桥接器配合使用,内置 SPI 控制器。

  应用

  BQ79616 主要应用于电池管理系统(BMS),特别是在混合动力和电动动力总成系统中,以及带有电池管理系统的储能电池组。

  封装信息

  - 型号:BQ79616

  - 封装:HTQFP(64 引脚)

  - 尺寸:10.00mm x 10.00mm

推荐资讯

  • DATEL HBR113S12-8.3铁路半砖型DC-DC电源模块
    DATEL HBR113S12-8.3铁路半砖型DC-DC电源模块 2024-11-22 09:27:32

    DATEL公司生产的HBR系列铁路半砖型DC-DC转换器,输出功率100瓦,效率高达89%,具备3000伏特RMS直流隔离,输入电压范围66-160伏特,工作温度-40°C至+100°C。其特点包括工业标准半砖封装、固定开关频率稳压、完全隔离、多重保护功能(过流、过压、过温、输入欠压锁定)、远程开/关控制和连续短路保护。该系列产品符合CE、UL60950-1和EN50155标准,广泛应用于铁路系统、分布式电源架构、电信、服务器、移动设备、军事和工业领域。

  • Cosel BRDS40/60/100/120/150非隔离DC-DC转换器
    Cosel BRDS40/60/100/120/150非隔离DC-DC转换器 2025-07-11 09:07:16

    COSEL BRDS系列是高性能非隔离DC-DC转换器,采用Robust控制技术实现快速瞬态响应,输入电压4.5-14V,输出电流40-150A,支持远程开关、Power Good信号和PMBus编程(含裕量调节/遥测),集成过流/过热保护及启动时序控制,专为通信设备、工业自动化和服务器等分布式电源系统设计。

在线留言

在线留言