欢迎来深圳市利来国国际网站创展科技有限公司官方网站!
24H服务热线
0755-83050846 / 83039348
IC集成电路
美国Marvell在数据处理和网络交换机的主控芯片方向,占据重要的市场份额。
深圳市利来国国际网站创展科技有限公司,在Marvell产品线上部分系列拥有大量现货优势,原装正品,优势价格,期待与各同行渠道商合作。
98DX3500,98DX3510,98DX3520,98DX3530,98DX3550以太网交换机
下行端口:1/2.5/5Gbps
上行端口:10/25Gbps
堆叠端口:25/50Gbps
IVM77700,IVM77610,IVM77500,IVM77310以太网交换机
容量:12.8 Tbps
SerDes:256个
98TX9180,98TX9160以太网交换机芯片
容量:51.2 Tbps
SerDes:512 个
88E3083-C1-LKJ1C000
工作温度:0~+70℃
数据速率:10 Mb/s, 100 Mb/s
工作电源电压:1.5V
88E1510-A0-NNB2I000
工作温度:-40~+85℃
数据速率:10 Mb/s, 100 Mb/s, 1 Gb/s
工作电源电压:1V
电源电压:0.95 V~1.05 V
电源电流—最大值:72 mA
88E3016-A2-NNC1C000
工作温度:0~+70℃
数据速率:10 Mb/s, 100 Mb/s
工作电源电压:1.2 V
电源电压:1.14 V~1.26 V
电源电流—最大值:25 mA
88E3018-A2-NNC1C000
88E3018-A2-NNC1I000
88E3082-C1-BAR1C000
工作电源电压:1.5 V
88E3015-A2-NNP1C000
88E1518-A0-NNB2C000
工作电源电压:1 V
88E1543-A1-LKJ2C000
电源电流—最大值:280 mA
88E1545-A1-LKJ2C000
88E1512-A0-NNP2I000
88E1512-A0-NNP2C000
88E3082-C1-BAR1I000
88X2242-B0-BKP2C000
数据速率:1 Gb/s, 10 Gb/s, 40 Gb/s
电源电流—最大值:3380 mA
88E2040LA1-BUT4I000
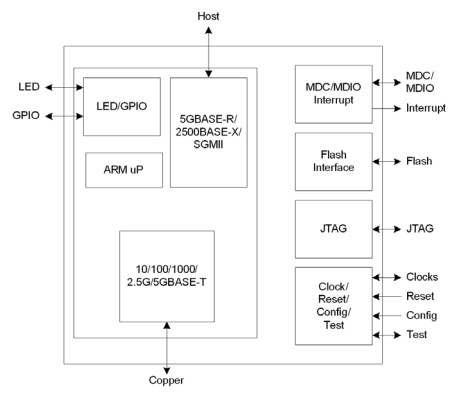
数据速率:10 Mb/s, 100 Mb/s, 1 Gb/s, 2.5 Gb/s, 5 Gb/s
工作电源电压:880 mV
电源电压:0.854 V~0.906 V
电源电流—最大值:800 mV
88E2040LA1-BUT4C000
工作电源电压:800 mV
电源电压:0.776 V~0.824 V
88X2222-B0-BKP2C000
数据速率:10 Gb/s
首页
上一页
共2页26条数据
在线留言