欢迎来深圳市利来国国际网站创展科技有限公司官方网站!
24H服务热线
0755-83050846 / 83039348
Test测试设备
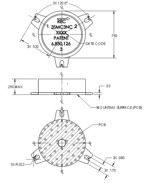
品牌名称:Renaissance(HXI)
重要参数:
频率:2.9-3.4GHz
尺寸:0.75 × 0.25 in
上一个: 3SMC3NB表面贴装高功率环行器2.7-3.7GHz
下一个: 3SMH5NA表面贴装高功率环行器3.45-3.65GHz
推荐产品
在线留言