88E2010-A1-BUS4I000以太网 IC Marvell

发布时间:2023-07-10 17:01:11     浏览:3501

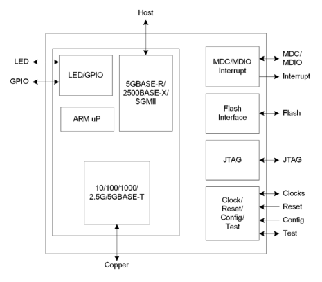
Marvell?Alaska?M88E2010/88E2040L是个满足IEEE802.3bz标准化的1接口(88E2010)或4接口(88E2040L)物理层(PHY)设备系列。88E2010-A1-BUS4I000提供多种服务器侧接口,包含5GBASE-R2500BASE-XSGMII,以支持和低速度传统式以太网速率的充分向后兼容性,包含:1Gbps100Mbps10Mbps

88E2010-A1-BUS4I000的灵活性使所有的结构化布线电缆长度都能做到极低功率,以此来实现密集的5Gbps技术应用。88E2010-A1-BUS4I000兼容6类(屏蔽或非屏蔽)、6A类(增强型)、7类电缆线和5e类电缆线,间距相当于100米。

88E2010-A1-BUS4I000.png

特征

?14接口,5PHY。在UTP铜线上以10M100M1G2.5G5G数据速率工作。

?满足IEEE802.3bz规范,应用于2.5G5G模式

?所有的设备上5GBASE-R2500BASE-XSGMII系统侧接口

?允许密集的多终端2.5G/5G技术应用

?误码率高于1E-15

?应用于2.5G5G模式的CAT5e超过100

?第45MDC/MDIO管理接口

?应用于88E2010单接口技术应用的中小型10mm×12mmHFCBGA封装;适用于88E2040L四接口应用的23mm×23mmHFCBGA封装

?有商业级和工业级可选择

Marvell在数据传输、网络、存储解决方案方面,始终保持前沿。深圳市利来国国际网站创展科技有限公司拥有优势Marvell分销资源,期待与各同行客户合作。

详情了解Marvell请点击:https:/brand/83.html

推荐资讯

  • RA2055NL汽车BMS变压器iNRCORE
    RA2055NL汽车BMS变压器iNRCORE 2024-08-06 09:46:39

    RA2055NL是iNRCORE一款汽车级变压器,专为电池管理系统设计,符合AEC-Q200标准,适用于极端温度环境,具有高耐压和低插入损耗,主要用于汽车电池管理系统,确保在恶劣条件下的可靠性能。

  • Renesas采用Arm?Cortex?-M内核的RA系列32位MCU
    Renesas采用Arm?Cortex?-M内核的RA系列32位MCU 2020-12-29 15:49:28

    ?Renesas?(瑞萨)灵敏的高端(RA)32位MCU是选用Arm?Cortex?-M33,-M23和-M4处理器内核,并根据PSA资质认证的,行业领域先进的32位MCU。RA可供应更为强有力的内嵌式安全可靠功能模块,优良的CoreMark?性能指标和极低的运行功率,并具备标志性的ArmCortex-MMCU具备显着优越性。PSA资质认证能为客户供应信心和安全保障,帮助其迅速部署安全可靠的物联网端点和边缘机器设备,及其应用于工业4.0的智能工厂机器设备。

在线留言

在线留言